汽修店犯难了!宝马防篡改螺丝专利正式通过审批

2026-02-12 11:04:09来源: 网络作者:admin

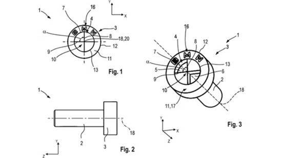
宝马最近取得了一项新型防篡改螺丝的专利,此设计运用了独特的异形凹槽构造,唯有借助宝马官方授权的专用工具方可顺利进行拆装,像十字螺丝刀、六角扳手这类普通通用工具是无法对其进行操作的。

专利文件表明,螺丝头部运用了特殊的几何造型,无法与市面上现有的任何通用工具适配;其中部分版本采用内梅花结构,通过对梅花齿形实施精准的细微调整,以此构建出每辆车专属的防盗系统。

同时还运用创新的逆向锁定机制,让螺丝在安装完成后进入“自锁”状态,以此进一步提升非法拆卸的难度——若有人使用非专用工具试图拆解,不仅无法成功,反而会让螺丝变得更紧。

这些螺丝主要应用于车轮轮毂(具备防盗功能)、发动机关键部件(像可变气门正时系统,可防止非法改装或零部件被替换)以及车身关键连接部位(以保障车辆重要结构的完整性与安全性)等地方。

专利中明确说明,该设计的目的是构建物理屏障,能切实“避免借助常规反驱动结构对螺丝进行松动或拧紧操作”,从而把维修权限稳固地限定在宝马授权经销商体系当中。

对于车主们来说,这项新专利显然是利弊共存的,它在切实起到防盗作用、保障零部件品质的同时,也会造成不少使用上的麻烦。

这意味着车主只能在宝马授权4S店或服务中心进行维修,而这些地方的工时费通常比第三方修理厂高;另外,如果行驶过程中轮胎突然爆胎,没有专用工具的话就无法自己更换备胎,只能依靠救援服务。

免责声明:文章图片应用自网络,如有侵权请联系删除

热门推荐

更多
最新 热门